Kladívkové šrotovníky SKIOLD DM-2 / DM-3 / DM-4 / BM-5

Kladívkové šrotovníky
Všechny šrotovníky SKIOLD jsou vhodné pro mletí surovin do krmných směsí. Díky integrovanému ventilátoru je lze snadno zakomponovat do linek. Ventilátor dopravuje semletý materiál a současně jej ochlazuje tak, aby bylo možné jej správně skladovat. Mlýny jsou robustní a přitom jednoduché, takže i jejich údržba je snadná.
Kladívkový šrotovník DM-2
S motorem 5,5 nebo 7,5 kW s výkonností do 500 kg/h, dopravní vzdáleností až 70 m. Jsou doporučené pro denní výkon do 2 tun.
Kladívkový šrotovník DM-3
S motory 11-15-18,5 kW a výkonností až 1300 kg/h. Dopravní vzdálenost max. 80 m. Jsou doporučené pro denní výkon do 5 tun.
Kladívkový šrotovník BM-5
Největší a nejrobustnější šrotovník ve výrobním programu, který s motorem 37 kW dosahuje výkonnosti až 2,5 t/h. Dopravní vzdálenost je ohraničená na cca 30 m.
Příslušenství
Ke šrotovníkům existuje široká paleta příslušenství, díky kterému je lze kombinovat s ostatními stroji z výrobního programu firmy SKIOLD, jako jsou například míchačky, dávkovací zařízení apod.
Cyklón a filtr
Při používání vzduchové dopravy je nutné pro oddělení šrotu od dopravního vzduchu použít cyklón. Cyklóny jsou přizpůsobené jednotlivým typům šrotovníků tak, aby bylo dosaženo maximálně možného odloučení materiálu od vzduchu. Na vzduchový výstup z cyklónu se montují filtry pro zachycení jemných prachových částic, nebo je výstup vzduchu vyvedený přímo do volného prostoru – v takovém případě se výstup osazuje stříškou proti dešti.
Separátor
Aby byl šrotovník chráněný před poškozením, do sacího vedení se vždy montuje separátor, který zachycuje vše, co je těžší než obilí. Speciální přípravek zajišťuje automatické vyprazdňování separátoru.
Výkonnosti – šrotovníky

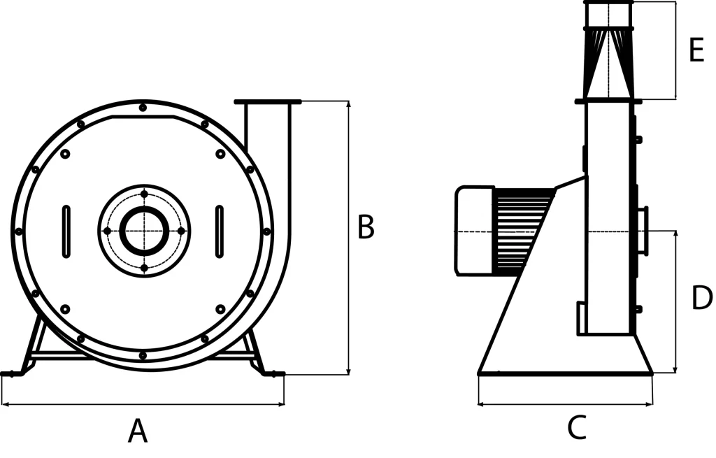
Rozměry kladívkových šrotovníků SKIOLD
|
model |
A (mm) |
B (mm) |
C (mm) |
D (mm) |
E (mm) |
|
DM-2 |
700 |
675 |
430 |
355 |
225 |
|
DM-2 |
700 |
679 |
430 |
355 |
277,5 |
|
BM-5 |
1000 |
810 |
1000 |
450 |
700 |

Technické údaje kladívkových šrotovníků SKIOLD
|
DM-2/2 |
DM-2/4 |
DM-3/4 |
DM-3/8 |
BM-5/8 |
|
|
Sací vedení – vpředu, Ø mm |
80 |
80 |
100 |
100 |
120/150 |
|
Sací vedení – vzadu, Ø mm |
80 |
80 |
80 |
80 |
100 |
|
Výfukové potrubí, Ø mm |
100 |
100 |
120 |
120 |
150 |
|
Rychlost vzduchu, m/s |
20 |
20 |
20 |
20 |
20 |
|
Množství vzduchu m3/h |
565 |
565 |
815 |
815 |
– |
|
Max. tlak vzduchu mm vodního sloupce |
160 |
275 |
450 |
540 |
– |
|
Požadovaný filtr m2 |
9 |
9 |
15 |
15 |
30 |
|
Požadovaný filtr, Ø 200, běžných metrů |
12 |
12 |
24 |
24 |
50 |







